(21)申请号 202010169409.1
(22)申请日 2020.03.12
(71)申请人 深圳威铂驰热技术有限公司
地址 518000 广东省深圳市龙华区观澜街
道桂花社区惠民一路32号厂房五201
(72)发明人 向军 李建卫
(74)专利代理机构 北京盛凡智荣知识产权代理
有限公司 11616
代理人 李青
(51)Int.Cl.
F28D 15/04 (2006.01)
(54)发明名称
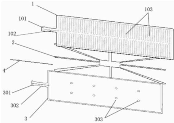
一种超薄均温板及其制造工艺
(57)摘要
本发明公开一种超薄均温板及其制造工艺,其中均温板包括盖板、底板和设置于两者之间的多孔毛细结构,所述盖板内侧壁上固接有多个支持柱,所述底板的内侧壁上设有多个与所述支持柱相对应的扣合部;所述盖板的一侧端部固设有第一凸出部,所述第一凸出部的内壁开设第一凹槽;所述底板的一侧端部固设有第二凸出部,所述第二凸出部的内壁开设第二凹槽,所述第一凹槽和第二凹槽之间贯穿并焊接抽真空管/注液管;多孔毛细结构为异性多孔毛细结构;所述多孔毛细结构呈“米”字型或其它形状。本发明一种适合大而薄的超薄均温板,在产品总厚度低于0.4mm时,可以保证增加30~50%的饱和蒸汽流动空间,整体的散热性能会提升30%以上。

内容未完全展示,请下载附件查看


